GST-LD-N8402(Ex)電源隔離式安全柵
| 型號 | GST-LD-N8402(Ex) |
| 工作電壓 |
DC24V;允許范圍:DC20V~DC28V |
| 工作電流 |
<150mA |
| 設備容量 | 最多可配接2只GST-HX-MN100C(Ex)火災聲光警報器 |
| 本安參數 | Um:250V Uo:28V Io:115mA Po:0.8W Co:0.083μF Lo:4mH |
| 使用環境 |
溫度: -10℃~+55℃ 相對濕度≤95%,不凝露 |
| 安全柵殼體材料 | PA66 |
| 安全柵重量 | 約0.43kg |
| 安全柵防護等級 | IP30 |
| 安全柵安裝孔距 | 140mm |
| 安全柵外形尺寸 | 150mm×97mm×36mm |

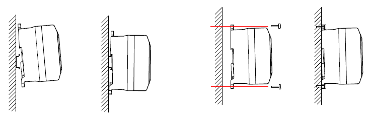
外形示意圖
2.工作原理
安全柵通過隔離和限能2種方式確保本安側的安全。用變壓器隔離,本安側輸出端口用穩壓二極管限壓、電阻限流。

左圖導軌安裝示意圖 右圖普通安裝示意圖
1.接線
安全柵端口通過插拔式端子(包括端子頭和端子座)同其他設備連接,將電纜線安裝在端子頭上后,端子頭正確插在端子座上確定穩固連接即可。
2.端子說明
接線端子如下圖所示。

接線端子
D1、D2:DC24V,無極性
O+、O-:本安電源輸出
注意:安全柵應安裝在安全區域,本安側和非本安側接線應分開,并保持一定距離(至少為50mm)。
3.布線要求
電源線D1、D2采用阻燃BV線,截面積≥1.5mm2。安全柵至本安編碼設備應選用截面積≥1.0mm2的本安電纜,且電纜間分布電容不得大于0.083μF,分布電感不得大于4.0mH。
智淼君安(江蘇)消防工程技術有限公司http://m.jiangsaihua2008.cn/
海灣消防公司主營:海灣消防報警系統銷售,消防設備安裝,海灣氣體滅火、海灣電氣火災、消防水噴淋系統施工安裝,售后維修,海灣消防網站:http://m.jiangsaihua2008.cn/;海灣消防服務熱線:4006-598-119
本頁關鍵詞:GST-LD-N8402(Ex)電源隔離式安全柵
上一篇:沒有了! 下一篇:防爆GST-LD-N8401(Ex)總線隔離式安全柵

蘇公網安備32058102002147號